Skip to content

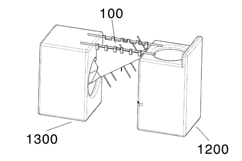
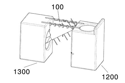
Bridge Between Washer and Dryer

bridge between washer and dryer.

Who

it will be a help in moving washed laundry from washer to dryer

What

build a bridge with slop from one side to another side.

How

easy transfer of laundry from washed to dryer. prevents cloths from falling to the ground. prevents back pain to the user

Competitors

Patent- US 11,982,046B2 (I own this patent)

Vishnu Chakravaram

Join And Share
Subscribe
Notify of
0 Comments
Inline Feedbacks
View all comments
0
Would love your thoughts, please comment.x
()
x